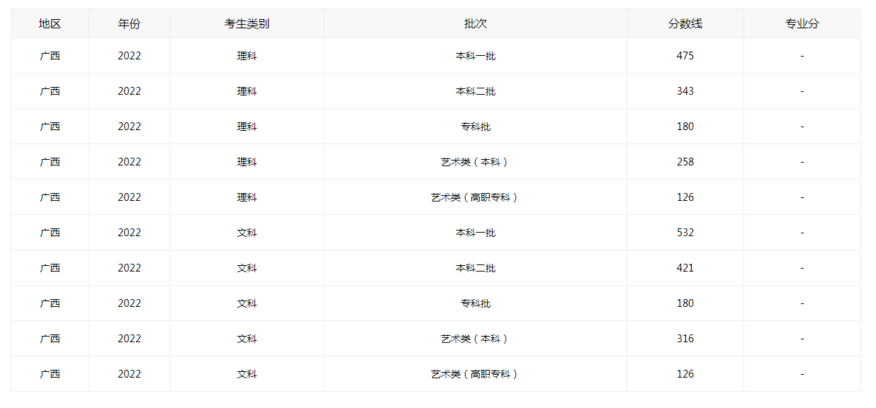
2022年广西高考分数线一览
推荐文章
2022年广西高考分数线一览(最新)
为了帮助考生查询到2022年广西高考录取分数线,特为大家整理了2022年广西高考分数线一览表。下面是小编给大家带来的2022年广西高考分数线一览(最新),以供大家参考!
2022年广西高考分数线一览


高考先出分数线还是先填志愿
一、选出心仪的志愿专业及院校
根据兴趣能力明确专业方向,志愿填报之前,考生要对自己的兴趣、能力和性格有一个比较全面的了解。一个专业的就业率再高,如果自己不感兴趣,就很难凭借理性和毅力学好,有时连毕业都成问题,因此考生一定要选择最适合自己的专业。
二、仔细阅读招生简章
招生章程主要内容包括:高校全称、校址、层次、办学类型等,在有关省(区、市)分专业招生人数及有关说明,专业培养对外语(课程)的要求,经批准的招收男女生比例等,可见招生简章里面的信息介绍很关键,不可轻易忽视。
三、确定志愿专业及院校
在充分了解相关信息后,经过仔细认真的思考,也可以与其他人沟通咨询,最后选定几个适合自己且自身符合条件的院校及专业。
填报高考志愿的方法是什么
一、学校概况不能略掉
填报志愿的时候,一定要去了解学校的性质、层次、办学类型、收费标准。对于设有分校及多个校区的院校,考生要关注考生在哪个校区就读,其毕业证书、学位证书的印章是否带有分校或校区的字样。
二、录取原则不能马虎
如调档比例、退档情况、加分政策、专业级差、身体受限、外语语种、专业报考等具体要求,每个学校的招生章程都会给出明确的调档比例、退档情况等录取标准。
当你知道自己的高考分数时,你就可以对比二者的齿轮是否吻合,用调档分数线和自己高考分做比较,这会大大提高你的高考志愿录取率。
三、单科成绩不能忽视
有的高分考生,拿到高考成绩单的时候,看见总分500多或600多,达到了理想院校的调档线时就得意忘形,以为自己一定有希望了。哪知,最后却还是因为没注意《招生章程》里的单科成绩,填错了志愿,导致高分落了榜。
需要说明的是,一般情况下,考生要特别注意英语的单科成绩。一定要注意,一定要注意,一定要注意,重要的事情说三遍。